²úÆ·¼ò½é£ºJD-WQX5BÐÍÎåÉí·Ö΢ÐÎÏóÒÇ´´ÐÂÐԵؽ«¸ºÑõÀë×Ó¡¢¿ÕÆøÎ¶ȡ¢Êª¶È¡¢PM2.5¡¢PM10µÈÐÎÏóÉí·Öͨ¹ýÒ»¸ö¸ß¼¯³É¶È½á¹¹À´ÊµÏÖ£¬¿ÉʵÏÖ»§±íÐÎÏó²ÎÊý24Ó×Ê±Â½ÐøÔÚÏß¼à²â
Ò»¡¢²úÆ·¼ò½é
Ç®¹ñqg777×÷ΪרҵÑз¢³ö²úÏúÊÛ΢ÐÍÐÎÏóÒÇµÄÆóÒµ£¬Ò»ÏòÖÂÁ¦ÓÚ΢ÐÍÐÎÏóÒǺÍÐÎÏó»·¾³½â¾ö¹æ»®ÍƹãÀûÓá£ÓµÓÐÆëÈ«µÄ³ö²úÁ´¡¢ÊµÁ¦ÐÛºñµÄ¼¼ÊõÍŶӺÍÈ«ÃæµÄÓªÏúÍŶӣ¬ÎÒÃÇÑз¢³ö²úµÄÎåÉí·Ö΢ÐÎÏóÒÇ¡¢ÁùÉí·Ö΢ÐÎÏóÒǺÍÓ×ÐÍ×Ô¶¯ÐÎÏóÕ¾µÈÐÎÏó²úÆ·£¬ÒÑ¿í·ºÀûÓõ½ÐÎÏó¼à²â¡¢³ÇÊл·¾³¼à²â¡¢·çÁ¦·¢µç¡¢º½º£´¬²°¡¢º½¿Õ»ú³¡¡¢ÇÅÁºËí·µÈÁìÓò£¬¿Í»§±é²¼È«¹ú¸÷µØ£¬²¢»ñµÃÁËÓÅÁ¼µÄÉç»áÐ§ÒæºÍ¾¼ÃÐ§Òæ¡£
JD-WQX5BÐÍÎåÉí·Ö΢ÐÎÏóÒÇ´´ÐÂÐԵؽ«¸ºÑõÀë×Ó¡¢¿ÕÆøÎ¶ȡ¢Êª¶È¡¢PM2.5¡¢PM10µÈÐÎÏóÉí·Öͨ¹ýÒ»¸ö¸ß¼¯³É¶È½á¹¹À´ÊµÏÖ£¬¿ÉʵÏÖ»§±íÐÎÏó²ÎÊý24Ó×Ê±Â½ÐøÔÚÏß¼à²â£¬Í¨¹ýÊý×ÖÁ¿Í¨Ñ¶½Ó¿Ú½«ÎåÏî²ÎÊýÒ»´ÎÐÔÊä³ö¸øÓû§¡£
¶þ¡¢²úÆ·ÌØµã
1¡¢¿¹×ÌÈÅÄÜÁ¦Ç¿£¬ÓµÓп´ÃŹ·µç·,×Ô¶¯¸´Î»Ö°ÄÜ,±£ÕÏϵͳ²»±äÔËÐÐ
2¡¢¸ß¼¯³É¶È£¬ÎÞÒÆ¶¯²¿¼þ£¬ÁãÄ¥Ëð
3¡¢ÃâÊØ»¤£¬ÎÞÐèÏÖ³¡Ð£×¼
4¡¢Ñ¡È¡ASA¹¤³ÌËÜÁÏÊÒ±íÀûÓÃÖÕÄê²»±äÉ«
5¡¢²úÆ·Éè¼ÆÊä³öÐźűêÅäΪRS485ͨѶ½Ó¿Ú£¨MODBUSºÍ̸£©£»¿ÉÑ¡Åä232¡¢USB¡¢ÒÔÌ«Íø½Ó¿Ú£¬Ö§³ÖÊý¾Ýʵʱ¶ÁÈ¡¡î
6¡¢¿ÉÑ¡ÅäÎÞÏß´«ÊäÄ£¿é£¬×îÓ×´«Êä¾àÀë1·ÖÖÓ
7¡¢Ì½Í·Îª¿¨¿ÛʽÉè¼Æ£¬½â¾öÁËÔËÊä¡¢×°Öùý³ÌËɶ¯½û¾øµÄÎÊÌâ¡î
Èý¡¢¼¼Êõ²ÎÊý
1¡¢¿ÕÆøÎ¶ȣºÕÉÁ¿µÀÀí¶þ¼«¹Ü½áµçѹ·¨£¬-40-80¡æ£¨¡À0.3¡æ£©·Ö±æÂÊ0.01¡æ£»
2¡¢¿ÕÆøÊª¶È£ºÕÉÁ¿µÀÀíµçÈÝʽ£¬0-100%RH£¨¡À3%RH£©·Ö±æÂÊ0.1%RH£»
3¡¢PM2.5£ºÕÉÁ¿µÀÀí¹âÉ¢É䣬0-1000ug/m3£¨¡À10%£©·Ö±æÂÊ1ug/m3
4¡¢PM10£ºÕÉÁ¿µÀÀí¹âÉ¢É䣬0-1000ug/m3£¨¡À10%£©·Ö±æÂÊ1ug/m3
5¡¢¸ºÑõÀë×Ó£ºÕÉÁ¿µÀÀíԲͲʽµç¼«ÎüÈëʽ£¬0-10Íò¸ö/m3£¨¡À10%£©·Ö±æÂÊ1¸ö/m3
6¡¢¹¦ÂÊ:2.3W
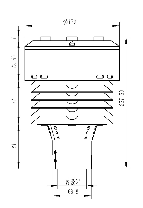
ËÄ¡¢²úÆ·³ß´çͼ

Îå¡¢²úÆ·½á¹¹Í¼

Áù¡¢²úÆ·½ÓÏß½ç˵
½ç˵ | ±¸×¢ | |
VCC | µçÔ´Õý | DC12V |
GND | µçÔ´µØ | |
485A | RS485A | |
485B | RS485B |